歐盟認證快訊:徐州科利達電控科技有限公司獲得歐盟強制CE認證證書;徐州科利達電控科技有限公司生產的料流檢測器、雙極跑偏開關、雙向拉繩開關、撕裂檢測器、速度檢測器等通過歐盟認證BST公告機構的CE認證安全評估,產品各項指標符合歐盟強制認證法規要求并取得CE認證證書。在此表示祝賀。登陸歐盟市場滿足歐盟法規要求,CEEU做您全球戰略布局基礎;


概述:
本機適用于化學塑膠、制藥、飼料、水泥、糧食、面粉、電力、化工粉料等工礦。
工作原理:
阻旋式料位控制器之葉片是利用傳動軸與離合相接,在未接觸物料時,馬達保持正常運轉,當葉片接觸物料時,馬達會停止轉動,機構會同時輸出一點信號而測出料位高度或料倉堵塞信號。
結構特點:
本機選用鋁合金鑄造,強度高,重量輕,安裝簡易。
全封閉性,室內室外都可使用。
獨特的油封設計可防止粉塵沿軸滲入。
扭力穩定可靠,且扭力大小可調節。
葉片承受過重負荷時,馬達回轉機構會自動打滑,確保馬達不受損壞。
不必從料倉上整件拆除,即可輕易的檢查維修內部零組件。
技術參數:
電源:220VAC(A型),110VAC(B型),24VAC(C型)50/60Hz;
功率:3W
接點容量:SPDT 5A/250V(AC)
葉片轉速:I.R.P.M
絕緣電壓:AC 1500V*lminufe
測量扭矩:0.5-1.0Kg/cm
防護等級:IP66/ADC-12
環境溫度:標準-20℃ ~ 60℃;高溫+720℃
測量介質:粉狀或顆粒物料
輸出信號:觸點輸出;常開+常閉
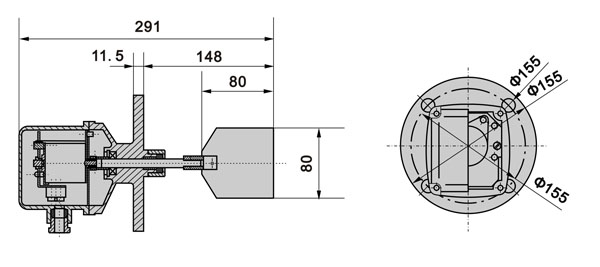
外形尺寸:

扭力調整:
扭力彈簧是用來調整轉軸的輸出扭力,當被測物比重大時可將彈簧扭過調至強檔位置,此時葉片的靈敏度較好;反之,被當被測物比重小時可將彈簧調至愈弱位置,此時葉片的靈敏度較較佳。扭力彈簧請勿隨意改變,以免造成誤動作。
安裝注意事項:
為了防止使用仲物料的砸擊,側裝時應在檢測葉片上方的容器內安裝防護板。如果采用加長軸項置垂直安裝,則應在軸套外保護套筒(或應使葉片和軟軸所處位置不受到物料的直接砸擊)。為避免室外環境暴雨滲入,側裝時應使出線口垂直向下并旋緊上蓋。